Q334-汽车用四轮定位举升机及液压系统控制设计【三维SolidWorks】SolidWorks,AutoCAD 3D模型
3D模型名称为:Q334-汽车用四轮定位举升机及液压系统控制设计【三维SolidWorks】,属于交通运输,车辆工程分类,软件为SolidWorks,AutoCAD, 三维模型格式为sldasm,sldprt,dwg,可在线预览,可编辑,可供设计参考
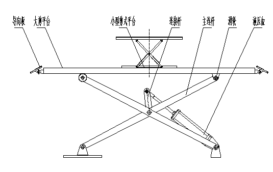
平面图
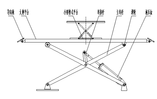
3D视图
加入收藏
模型参数
模型ID:10305879
模型大小:23.99M
软件版本: SolidWorks,AutoCAD 2012
模型格式:sldasm,sldprt,dwg
是否可编辑:可修改,包括参数
上传时间:2025-11-10
图纸介绍:
万壑争流
+
关注
作品: 0
粉丝: 0
文件列表
1. 11.dwl
54 B
2. 11.dwl2
207 B
3. A_CS1D200_300N__0_1.sldasm
254 KB
4. A_CS1D200_300N__0_1.sldasm
254 KB
5. QQ截图20170216104033.jpg
43.8 KB
6. QQ截图20170216104118.jpg
6.52 KB
7. QQ截图20170216104134.jpg
72.2 KB
8. Thumbs.db
37.5 KB
9. acad.fas.lnk
997 B
10. acad.fas.lnk
997 B
11. atmp1478
1.36 MB
12. atmp1478
1.36 MB
13. atmp6334
595 KB
14. atmp6334
595 KB
15. atmp9358
1.36 MB
16. atmp9358
1.36 MB
17. body_A_CS1D200_300N__0_1.sldprt
392 KB
18. body_A_CS1D200_300N__0_1.sldprt
392 KB
19. clevis pins with head gb.sldprt
596 KB
20. clevis pins with head gb.sldprt
596 KB
21. clevis pins with head gb11.sldprt
452 KB
22. clevis pins with head gb11.sldprt
452 KB
23. clevis pins with head gb111.dwl
54 B
24. clevis pins with head gb111.dwl2
207 B
25. clevis pins with head gb111.sldprt
533 KB
26. clevis pins with head gb111.sldprt
533 KB
27. clevis pins with head gb2222.sldprt
531 KB
28. clevis pins with head gb2222.sldprt
531 KB
29. clevis pins with head gb222211111.sldprt
531 KB
30. clevis pins with head gb222211111.sldprt
531 KB
31. ggggggg.SLDPRT
174 KB
32. ggggggg.SLDPRT
174 KB
33. gggggggggggggg.SLDPRT
93 KB
34. gggggggggggggg.SLDPRT
93 KB
35. hex nuts, style 1-grades ab gb.sldprt
478 KB
36. hex nuts, style 1-grades ab gb.sldprt
478 KB
37. hexagon socket head cap screws gb.sldprt
589 KB
38. hexagon socket head cap screws gb.sldprt
589 KB
39. pppp.png
6.52 KB
40. pppp.png
6.52 KB
41. rod_A_CS1D200_300N__0_1.sldprt
190 KB
42. rod_A_CS1D200_300N__0_1.sldprt
190 KB
43. round nuts gb.sldprt
351 KB
44. round nuts gb.sldprt
351 KB
45. sav2223.tmp
595 KB
46. sav2223.tmp
595 KB
47. sav7DAB.tmp
1.36 MB
48. sav7DAB.tmp
1.36 MB
49. sav87EA.tmp
1.36 MB
50. sav87EA.tmp
1.36 MB
51. split pins.sldprt
312 KB
52. split pins.sldprt
312 KB
53. ttttt.SLDPRT
313 KB
54. ttttt.SLDPRT
313 KB
55. ttttt.dwl
54 B
56. ttttt.dwl2
207 B
57. ~$A_CS1D200_300N__0_1.sldasm
14 B
58. ~$body_A_CS1D200_300N__0_1.sldprt
14 B
59. ~$clevis pins with head gb.sldprt
14 B
60. ~$clevis pins with head gb111.sldprt
14 B
61. ~$clevis pins with head gb2222.sldprt
14 B
62. ~$clevis pins with head gb222211111.sldprt
14 B
63. ~$ggggggg.SLDPRT
14 B
64. ~$hex nuts, style 1-grades ab gb.sldprt
14 B
65. ~$rod_A_CS1D200_300N__0_1.sldprt
14 B
66. ~$round nuts gb.sldprt
14 B
67. ~$split pins.sldprt
14 B
68. ~$ttttt.SLDPRT
14 B
69. ~$四轮定位举升机.SLDASM
14 B
70. ~$底板.SLDPRT
14 B
71. ~$汽车检修升降台架.SLDASM
14 B
72. ~$零件1.SLDPRT
14 B
73. ~$零件11.SLDPRT
14 B
74. ~$零件1112.SLDPRT
14 B
75. ~$零件1114.SLDPRT
14 B
76. ~$零件1119.SLDPRT
14 B
77. ~$零件1655.SLDPRT
14 B
78. ~$零件1655gg.SLDPRT
14 B
79. ~$零件2.SLDPRT
14 B
80. ~$零件4.SLDPRT
14 B
81. ~$零件5.SLDPRT
14 B
82. ~$零件ff13.SLDPRT
14 B
83. ~$零件w8.SLDPRT
14 B
84. 三维.jpg
52 KB
85. 四轮定位举升机.SLDASM
584 KB
86. 四轮定位举升机.SLDASM
584 KB
87. 底板.SLDPRT
289 KB
88. 底板.SLDPRT
289 KB
89. 底板.dwl
54 B
90. 底板.dwl2
207 B
91. 总装图.SLDASM
558 KB
92. 总装图.SLDASM
558 KB
93. 汽车检修升降台架.SLDASM
738 KB
94. 汽车检修升降台架.SLDASM
738 KB
95. 汽车用四轮定位举升机-9张CAD图纸.DWG
601 KB
96. 汽车用四轮定位举升机-9张CAD图纸.DWG
601 KB
97. 装配图.jpg
72.3 KB
98. 说明书.doc
6.47 MB
99. 说明书.doc
6.47 MB
100. 零件1.SLDPRT
188 KB
101. 零件1.SLDPRT
188 KB
102. 零件10.SLDPRT
120 KB
103. 零件10.SLDPRT
120 KB
104. 零件11.SLDPRT
255 KB
105. 零件11.SLDPRT
255 KB
106. 零件11.dwl
54 B
107. 零件11.dwl2
207 B
108. 零件1112.SLDPRT
228 KB
109. 零件1112.SLDPRT
228 KB
110. 零件1114.SLDPRT
201 KB
111. 零件1114.SLDPRT
201 KB
112. 零件1114.dwl
54 B
113. 零件1114.dwl2
207 B
114. 零件1119.SLDPRT
308 KB
115. 零件1119.SLDPRT
308 KB
116. 零件12.SLDPRT
131 KB
117. 零件12.SLDPRT
131 KB
118. 零件1222.SLDPRT
110 KB
119. 零件1222.SLDPRT
110 KB
120. 零件1655.SLDPRT
301 KB
121. 零件1655.SLDPRT
301 KB
122. 零件1655gg.SLDPRT
150 KB
123. 零件1655gg.SLDPRT
150 KB
124. 零件2.SLDPRT
212 KB
125. 零件2.SLDPRT
212 KB
126. 零件2.dwl
54 B
127. 零件2.dwl2
207 B
128. 零件3.SLDPRT
125 KB
129. 零件3.SLDPRT
125 KB
130. 零件333.SLDPRT
110 KB
131. 零件333.SLDPRT
110 KB
132. 零件33d3.SLDPRT
111 KB
133. 零件33d3.SLDPRT
111 KB
134. 零件4.SLDPRT
161 KB
135. 零件4.SLDPRT
161 KB
136. 零件5.SLDPRT
224 KB
137. 零件5.SLDPRT
224 KB
138. 零件511.SLDPRT
140 KB
139. 零件511.SLDPRT
140 KB
140. 零件6.SLDPRT
157 KB
141. 零件6.SLDPRT
157 KB
142. 零件7.SLDPRT
173 KB
143. 零件7.SLDPRT
173 KB
144. 零件8.SLDPRT
365 KB
145. 零件8.SLDPRT
365 KB
146. 零件9.SLDPRT
94 KB
147. 零件9.SLDPRT
94 KB
148. 零件ff13.SLDPRT
219 KB
149. 零件ff13.SLDPRT
219 KB
150. 零件vvvvvvvvvvvvvv3.SLDPRT
112 KB
151. 零件vvvvvvvvvvvvvv3.SLDPRT
112 KB
152. 零件w8.SLDPRT
174 KB
153. 零件w8.SLDPRT
174 KB
154. 零件w8.dwl
54 B
155. 零件w8.dwl2
207 B
举报/反馈
免责申明:
本网站模型由用户自行上传,如权利人发现存在误传其作品情形,请及时与本站联系。
【Q334-汽车用四轮定位举升机及液压系统控制设计【三维SolidWorks】】相关作品
滚动更载更多~
模型报错
模型报错类型:
分类错误
版本错误
雷同或版权问题,重复ID
图片与模型不一致
文件不完整
解压文件打不开或有问题
模型报错描述:
联系方式
提交报错
提示
×
下载该图档需要消耗100金币!
确认下载
我和会话