绘图SolidWorks,step,AutoCAD 3D模型

3D模型名称为:绘图,属于机械设备,非标机械分类,软件为SolidWorks,step,AutoCAD, 三维模型格式为sldprt,step,dwg,sldasm,可在线预览,可编辑,可供设计参考

加入收藏
模型参数

模型ID:10285031

模型大小:2.39M

软件版本: SolidWorks,step,AutoCAD 2014

模型格式:sldprt,step,dwg,sldasm

是否可编辑:可修改,包括参数

上传时间:2025-08-23

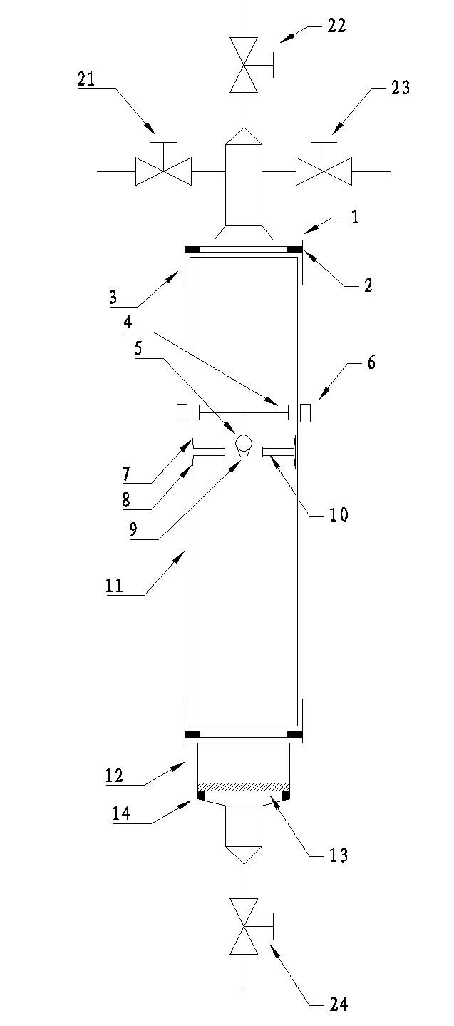
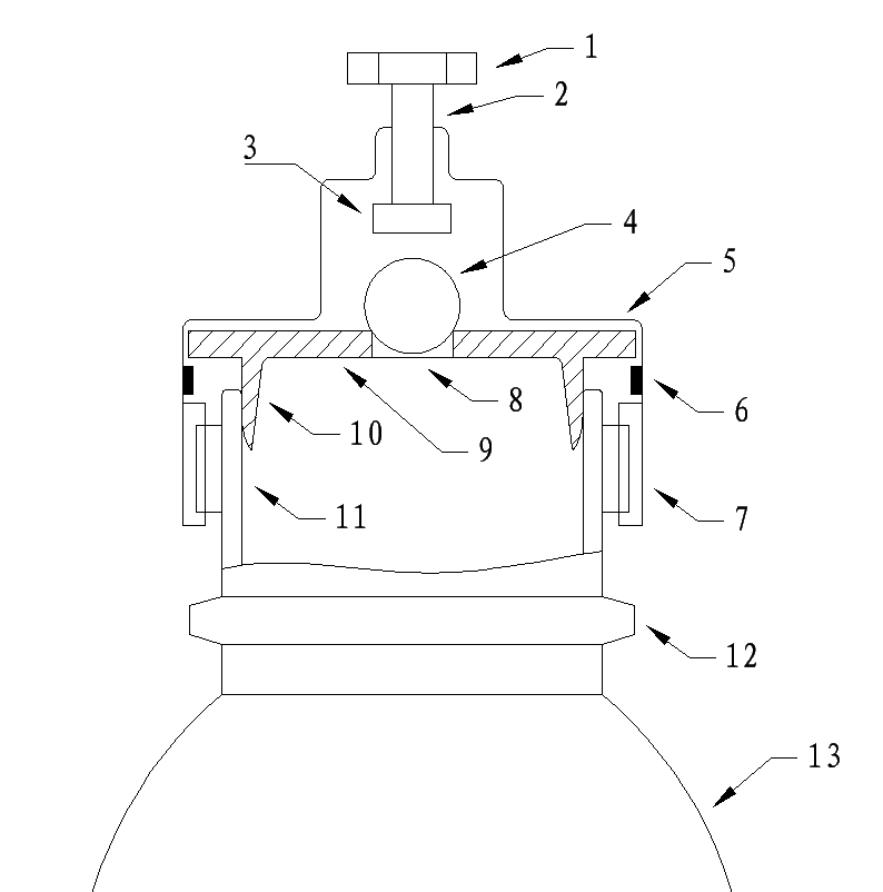
图纸介绍:

下载模型
拂尘烟
作品: 0
粉丝: 0
文件列表
1. 1.jpeg
56.8 KB
2. 11.SLDPRT
638 KB
3. 11.STEP
540 KB
4. 12.jpeg
115 KB
5. Drawing1.dwg
69.1 KB
6. 取样.jpeg
173 KB
7. 层析柱.jpg
42.9 KB
8. 层析柱结构图.jpeg
83.5 KB
9. 球阀开启图.jpeg
57 KB
10. 装配体2.SLDASM
305 KB
11. 装配体2.STEP
4.45 MB
12. 说明.docx
12.4 KB
13. 说明.docx
14.4 KB
14. 阀门示意图.jpeg
105 KB
15. 零件10.SLDPRT
320 KB
16. 零件10.STEP
164 KB
17. 零件8.SLDPRT
402 KB
18. 零件8.STEP
226 KB
19. 零件9 - 副本.SLDPRT
651 KB
20. 零件9.SLDPRT
459 KB
【绘图】相关作品
下载提示
×

下载该图档需要消耗10金币!

确认下载
-- 热门充值套餐 · 限时优惠 --
加载中